• 다크모드
  • 로그인
  • 회원가입
모바일메뉴

소리전자

검색
마이페이지
  • 판매장터
    • 수입오디오
    • 부품
    • 음반
    • 국산오디오
    • 업체전문인
    • 자작품
    • 계측기
    • 라디오
    • 전자종합
    • 벼룩종합
    • 햄무선기
    • 불용자재
    • 교환장터
    • 광고업체
    • 무료나눔
  • 부품판매
    • 트랜스포머
    • 노브(손잡이)
    • 자작부품-1
    • 자작부품-2
    • 자작부품-3
    • 전원용PCB
    • CCS-PCB
    • 키트용PCB
    • 볼륨용 PCB
    • 입력용 PCB
    • 고정가이드
    • 소켓가이드
    • CD로딩용기어
    • 케이블완제품
    • 윤활유클리너
    • 자작공구/은납
    • 딘케이블단자
    • 콘덴서 종류
    • 자작용계측기
    • 앰프케이스
  • 앰프키트
    • 소리전자 키트 종류
    • 소리전자 키트제작서
    • 소리전자 키트배선도
    • 소리전자 키트사용기
  • 주문구입
  • 커뮤니티
    • 자유게시판
    • 질문게시판
    • 가입인사
    • 통합 동호회
    • 자작게시판
    • 나의오디오
    • 플레이리스트
    • 미션관리
    • 공지사항
    • 출석부
  • 동호회
    • 알텍동호회
    • 피셔동호회
    • AR동호회
    • JBL동호회
    • 튜너동호회
    • 빈티지동호회
    • 마란츠동호회
    • 탄노이동호회
    • 도이치동호회
    • 웨스턴동호회
    • 매킨토시동호회
    • 아날로그동호회
    • 멀티앰핑동호회
  • 자료실
    • 웨스턴자료실
    • 전세계회로도
    • 소리전자트랜스규격
    • 부품위탁매물
    • 오디오위탁매물
    • 가격인하매물
수입오디오 부품 음반 국산오디오 업체전문인 자작품 계측기 라디오 전자종합 벼룩종합 햄무선기 불용자재 교환장터 광고업체 무료나눔
  • 판매장터
    • 수입오디오
    • 부품
    • 음반
    • 국산오디오
    • 업체전문인
    • 자작품
    • 계측기
    • 라디오
    • 전자종합
    • 벼룩종합
    • 햄무선기
    • 불용자재
    • 교환장터
    • 광고업체
    • 무료나눔
Home 판매장터 자작품
T기본글꼴
  • 기본글꼴✔
  • 나눔고딕✔
  • 맑은고딕✔
  • 돋움✔
예약
2018.01.24 12:44

6v6 싱글 - 완료

성낙운
(*.104.250.50) 조회 수 1315 추천 수 0 댓글 0
?

단축키

Prev이전 문서

Next다음 문서

가 크게 작게 위로 아래로 댓글로 가기 인쇄 첨부
?

단축키

Prev이전 문서

Next다음 문서

가 크게 작게 위로 아래로 댓글로 가기 인쇄 첨부
Extra Form

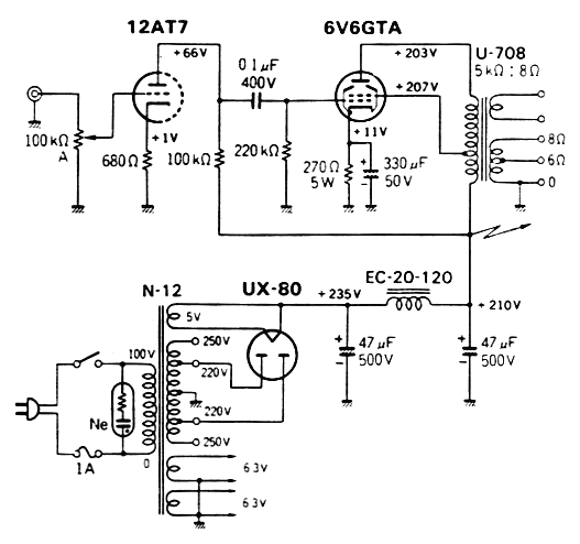
진공관 앰프는 6v6싱글 하나만 있으면 된다고 생각합니다. 험없고 재즈에 잘 어울리는 앰프입니다. 출력관은 구.러시아관입니다. 이 앰프는 마지막 까지 가져 가려다 내놓습니다. 경남 양산 택배 또는 고속버스 안전포장 송료포함 00만

Prev (예약)300b 모노모노 구입합니다 (예약)300b 모노모노 구입합니다 2018.02.18by 박우철 *미제 중형 알미늄주물 나팔혼1조(판매&교환)***예약 Next *미제 중형 알미늄주물 나팔혼1조(판매&교환)***예약 2018.01.20by 허지혜
0

추천

0

비추천

Atachment
첨부 '5'
  • 01.jpg,
  • 02.jpg,
  • 03.jpg,
  • 04.jpg,
  • 6V6Single.gif,
Facebook Twitter Google Pinterest
위로 아래로 댓글로 가기 인쇄 첨부
에디터 선택하기
✔ 텍스트 모드 ✔ 에디터 모드
?
댓글 쓰기 권한이 없습니다. 로그인 하시겠습니까?

  • 전체
  • 판매
  • 구입
  • 완료
  • 인하
  • 예약
  • 교환
  • List
  • Zine
  • Gallery
List of Articles
번호 분류 제목 글쓴이 날짜 조회 수
공지 판매 자작품 오디오-장터 공지사항 소리전자 2009.04.19 38855

인기글 TOP 20

PILOTONE(Pilot) 6v6pp 인티 AA903 모노(외짝)
조회 65 ・ 0
진공관식 프리앰프
조회 74 ・ 0
*KT88 진공관PP 모노블럭파워앰프(판매교환)
조회 47 ・ 0
젠센 소노돔 슈퍼트위터 1세트
조회 22 ・ 0
젠센 알리코 슈퍼 트위터 1조
조회 31 ・ 0
슈퍼트위터4단 변환기1/0,75 2/1,50 3/2,25 4/3.0
조회 13 ・ 0
*TUNSOL 6A3 PP진공관파워(판매교환)
조회 16 ・ 0
*지멘스 인클로저 12인치알리코플렌지(직거래)
조회 27 ・ 0
* A 롱암 벨트드라이브 턴테이블 (판매교환)
조회 19 ・ 0
자작 프리앰프
조회 15 ・ 0
인터케이블 Y케이블 XLR케이블
조회 5 ・ 0
6V6앰프(모노 모노 싱글)
조회 21 ・ 0
300B 300A 275A 싱글앰프
조회 21 ・ 0
마그나복스 6bq5 싱글앰프
조회 14 ・ 0
최고의 알니코 3Way... 키냅 18/유타 8/알텍 혼/알텍 네트웍
조회 0 ・ 0
알리코의 꽃! 2인치 최고의 트위터... 16옴 덴마크 피어리스 왕자석
조회 0 ・ 0
피어리스 PEERLESS S448Q 트랜스 프리앰프
조회 2 ・ 0
유니버시티 UNIVERSITY C15W 15인치 스피커
조회 1 ・ 0
96 예약 오디오 각종데이타 측정 cronosaudio 2025.08.12 588
95 예약 Scott 299 amp 개조 의뢰 (판매 글 아닙니다) 김남렬 2025.01.18 1615
94 예약 오디오 제작 관련 file cronosaudio 2024.08.27 470
93 예약 대형스피커 신동춘 2023.11.03 1392
92 예약 Goodmans 4.5" Full Range speaker + 원형 평판 file msr 2022.11.07 406
91 예약 (예약중) 2웨이 스피커 자작용 엔클러저 (영국제 Arcam3plus 통) file 차시영 2022.07.24 866
90 예약 알텍 828 인크로져(대리게시) file Tubeamp 2022.02.24 701
89 예약 오묘한 작품입니다<?> 체리사운드 2021.11.04 946
88 예약 부산/튜브링크 패시브 트랜스프리 file 이상헌 2021.07.19 831
87 예약 EL95 PP 모노 1개 판매 file 채스워스레드 2021.04.04 299
86 예약 탄노이 6.5" 유닛과 인클로져 file 임성호 2020.12.21 801
85 예약 6반 풀레인지 통 일괄 정리 ~~~~~~~~~~~~~~~~~~~~~~ file 조재원 2020.12.15 696
84 예약 300b파워앰프 대리게시 1 이주종 2020.12.01 700
83 예약 JBL C40 하크니스 복각 판매합니다 file 박승도 2020.11.09 963
82 예약 필립스 8인치 알니코 풀레인지 9710M/01 1 이윤의 2020.10.15 700
81 예약 텔레풍켄6.5인치 플레인지 평판 스피커 file 깐돌이38 2020.09.26 834
80 예약 el34 싱글앰프 판매합니다 K.J.S 2020.08.12 774
79 예약 275a프리엠프.275a 싱글엠프 file 조대경 2019.11.13 996
78 예약 1626싱글 file 엄광섭 2019.10.10 779
77 예약 복각 프리앰프 file 박상예 2018.08.05 1392
76 예약 미송12t의 후방 개방 빈티지형 10"스피커 통 1 file 임진수 2018.05.17 672
75 예약 스피커통 장인이 미송으로 만든 10" 2 file 임진수 2018.05.14 1269
74 예약 예약중 file 김석한 2018.03.18 972
73 예약 (예약)300b 모노모노 구입합니다 박우철 2018.02.18 409
» 예약 6v6 싱글 - 완료 file 성낙운 2018.01.24 1315
71 예약 *미제 중형 알미늄주물 나팔혼1조(판매&교환)***예약 file 허지혜 2018.01.20 959
70 예약 마그나복스 12 인치 알리코 우퍼 스피커 2 file 송미자 2017.12.09 660
69 예약 ((무료)) 미송으로 제작된 ALTEC 825통 발판 2 file 박영창 2017.06.28 661
쓰기
Board Pagination Prev 1 2 3 4 Next
/ 4

로그인을 해주세요

  • Sign in with Naver
  • Sign in with Kakao
ID/PW찾기 회원가입
브라우저를 닫더라도 로그인이 계속 유지될 수 있습니다. 로그인 유지 기능을 사용할 경우 다음 접속부터는 로그인할 필요가 없습니다. 단, PC방, 학교, 도서관 등 공공장소에서 이용 시 개인정보가 유출될 수 있으니 꼭 로그아웃을 해주세요.

TOP 5

  • 오디오장터
  • 음반
  • 불용자재
  • 커뮤니티
  • B&W DM603 S2(경기시흥)
    1분 전
    09:27
  • Marantz 마란츠 DL 3507 카세트데크(경기시흥)
    1분 전
    09:26
  • 가요 초반 미개봉 LP
    2분 전
    09:25
  • 가요 LP 미개봉 6매
    2분 전
    09:25
  • WE(웨스턴) 330A 갈고리 콘덴서
    2분 전
    09:25
  • 수입 클래식 음반(레코드) 팝니다. 20251227 1-30번
    11시간 전
    21:37
  • 입체낭동 성경 테이프전집 12박스 120개 (거의새것)
    21시간 전
    12:17
  • 디스크 청소의 선두주자.. 영국 제로스타트 풀박스
    36분 전
    08:51
  • 해바라기 LP (서라벌, 라이브콘서트 /1988)
    10시간 전
    22:50
  • LP 김연자2집/사랑의미로
    10시간 전
    23:04
  • 민웰 SMPS, EACO 캐패시터, Sanyo Denki 쿨링팬 A51225
    12시간 전
    21:05
  • 방수 마이크로 스위치 판매 합니다.
    17시간 전
    15:31
  • 인넷잭
    17시간 전
    15:29
  • DIT노이즈필터 & 한신 12UF AC콘덴서.....미사용
    23시간 전
    09:33
  • 국신 라이보 FW-80DB 강의용 무선 마이크앰프
    23시간 전
    09:31
  • 한해를 보내면서
    9시간 전
    23:50
  • 아날로그 LP의 정수 Christmas 올드캐롤 1
    10시간 전
    23:04
  • Besame Mucho collection
    11시간 전
    21:49
  • 파워앰프 볼륨 빼고 저항 대체
    2025-12-25
    23:01
  • 메리크리스마스입니다! 5
    2025-12-25
    17:04

진공관 부품-키트 주문

전화 02-998-4643
팩스 02-996-4643
영업시간
월~금 오후 12:30~오후7:00
토요일 오후 12:30~오후 5:00
일요일, 국경일 휴무입니다.
회사소개 제휴문의 이용약관 개인정보취급방침 이메일주소무단수집거부 구입안내 회원가입
상호명: 소리전자 | 대표전화: 02-998-4643
서울시 강북구 덕릉로 147-2 우이다온 601호.
영업시간 오전 12시 30분 ~ 오후 7시, 공휴일 휴무.
개인정보관리책임자 : 고상태(02-998-4643) 통신판매업신고 강북구 제0217호
E-mail : [email protected] 사업자등록번호 217-05-18554 이종호 호스팅:(주)블루웹
메뉴닫기
profile
로그인 해주세요.
자유게시판 내가쓴글 저장함 쪽지

전체 게시판

  • 판매장터
    • 수입오디오
    • 부품
    • 음반
    • 국산오디오
    • 업체전문인
    • 자작품
    • 계측기
    • 라디오
    • 전자종합
    • 벼룩종합
    • 햄무선기
    • 불용자재
    • 교환장터
    • 광고업체
    • 무료나눔
  • 부품판매
    • 트랜스포머
    • 노브(손잡이)
    • 자작부품-1
    • 자작부품-2
    • 자작부품-3
    • 전원용PCB
    • CCS-PCB
    • 키트용PCB
    • 볼륨용 PCB
    • 입력용 PCB
    • 고정가이드
    • 소켓가이드
    • CD로딩용기어
    • 케이블완제품
    • 윤활유클리너
    • 자작공구/은납
    • 딘케이블단자
    • 콘덴서 종류
    • 자작용계측기
    • 앰프케이스
  • 앰프키트
    • 소리전자 키트 종류
    • 소리전자 키트제작서
    • 소리전자 키트배선도
    • 소리전자 키트사용기
  • 주문구입
  • 커뮤니티
    • 자유게시판
    • 질문게시판
    • 가입인사
    • 통합 동호회
    • 자작게시판
    • 나의오디오
    • 플레이리스트
    • 미션관리
    • 공지사항
    • 출석부
  • 동호회
    • 알텍동호회
    • 피셔동호회
    • AR동호회
    • JBL동호회
    • 튜너동호회
    • 빈티지동호회
    • 마란츠동호회
    • 탄노이동호회
    • 도이치동호회
    • 웨스턴동호회
    • 매킨토시동호회
    • 아날로그동호회
    • 멀티앰핑동호회
  • 자료실
    • 웨스턴자료실
    • 전세계회로도
    • 소리전자트랜스규격
    • 부품위탁매물
    • 오디오위탁매물
    • 가격인하매물
닫기

마이페이지

로그인을 해주세요

  • Sign in with Naver
  • Sign in with Kakao
ID/PW찾기 회원가입
브라우저를 닫더라도 로그인이 계속 유지될 수 있습니다. 로그인 유지 기능을 사용할 경우 다음 접속부터는 로그인할 필요가 없습니다. 단, PC방, 학교, 도서관 등 공공장소에서 이용 시 개인정보가 유출될 수 있으니 꼭 로그아웃을 해주세요.